新闻动态

  • 压力设备的快速成型制造,3D打印在阀门行业的应用实例

    与容器、管道或非燃烧压力容器类似,阀门和最终控制元件如果承受的最大允许压力大于7.25 psi(0.5bar),则被归类为 “压力设备”。压力设备制造商必须确保其产品的安全性,同时保证欧盟市场的公平竞争。

    2024-10-30 科威

  • 控制阀安装与维护实操:更换阀杆填料的步骤

    无论使用哪种类型的阀门,所有由阀杆驱动的控制阀都需要某种密封材料,以允许阀杆通过称为执行机构的外部机构运动。工艺流体的密封不允许运动的阀杆和阀体之间有任何泄漏。阀杆的密封装置称为阀杆填料。

    2024-10-25 科威

  • 催化烟机入口蝶阀失控故障原因分析

    该设备入口蝶阀SV-20在运行过程中,阀位逐渐关小到5%,操作工给开阀信号,阀门没响应。现场检查发现,油泵处于停止状态,备用油泵没有起来,手动开泵后,压力仍然到达不了正常工作压力(16mpa),操作工紧急切换到手动液压操作逐步打开阀门,避免了一起设备入口快切阀关小影响装置生产的事件。

    2024-10-18 科威

  • 回收装置气缸阀故障

    过程检查及分析 回收反应FV7526关不严后,技术员带领仪表班维护人员到现场检查试验,测试控制室给出控制信号正常,两位式气缸阀阀门开度20%-80%,手动盘 车同样困难。当时分析判断为阀座内部密封不严导致阀芯腐蚀导致,随后电仪车间立即汇报分厂并联系机械厂对气缸阀解体维修。解体后检查阀芯 连杆、齿条和花键均有不同程度腐蚀,导致两位式气缸阀无法开关到位。

    2024-09-06 科威

  • 压力调节阀不动作

    调节阀不动作故障原因分析 原因1: 无气源或气源压力过小。 措施:应首先检查气源( 仪表空气) 是否通畅,气源压力是否达到该阀使用要求。 原因2: 有气源,无输出信号气压力。

    2024-09-06 科威

  • DDV阀介绍及其应用

    200MW以上机组配备的DEH产品主要以高压抗燃油全电调为主,随着电力市场的发展,电厂控制的自动化程度不断提高,小机组汽机控制系统的自动化程度在不断地提高。而小机组投资相对较少,低压纯电调改造方案既解决了投资地问题,又满足了电厂自动化控制的要求。2001年开始GE新华为了满足用户的要求,设计采用了一种以直线马达驱动的电液转换器(DDV阀)为电液接口的低压透平油纯电调系统。下面就DDV阀的结构、特点及结合顶目的应用来说明

    2024-08-05 科威

  • 锅炉主给水再循环阀门(省煤器再循环阀门)报故障

    省煤器再循环的原理 省煤器再循环是指在锅炉烟气通过省煤器冷却后,将其余热再次回收利用的过程。具体原理为:将锅炉排出的高温烟气导入省煤器进行冷却,使烟气中高温余热被吸收。然后,将冷却后的烟气再导入锅炉进行再循环利用,以达到节能减排的目的。

    2024-07-26 科威

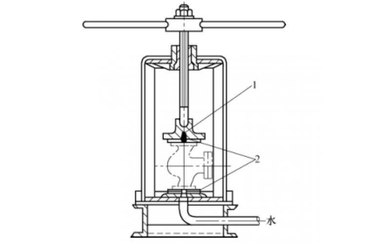
  • 阀门怎样进行强度试验和严密性试验?

    阀门的强度试验和严密性试验一般在如图1所示的阀门水压试验台上进行。

    2024-07-19 科威

首页
产品
新闻
联系